新聞資訊
了解故障案例及產品資訊
問題描述(故障現象)
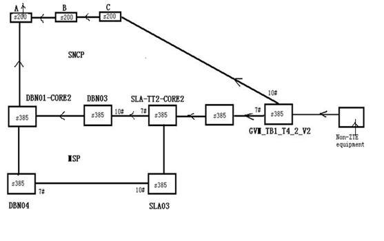
DBN01-CORE2、DBN03、SLA-TT2-CORE2、SLA03、DBN04五個站點組的兩纖雙向復用段保護環。DBN01-CORE2、DBN03、SLA-TT2-CORE2、GVM_TB1_T4_2_V2、A、B、C等站點組兩纖單向通道保護環。
業務配置如下:

A、B、C站點的業務配置的通道保護,業務在Non-ZTEequipment站點落地。業務的一個方向經過MSP環上的DBN01-CORE2、DBN03、SLA-TT2-CORE2站點。DBN03到SLA-TT2-CORE2站點在10月16日08:40:21光纜發生中斷,這時候A、B、C站點到Non-ZTEequipment站點部分業務發生中斷。此前SLA03-DBN04之間已經存在PSE告警,且一直未恢復;
問題:既然經過DBN03站點和SLA-TT2-CORE2站點業務在該跨度既有MSP保護又有PP保護,業務怎么會中斷?我們首先來看看業務是怎么恢復的,通過現場和局方工程師以及通過網管的操作日志查詢,我們發現客戶通過網管查詢業務在中斷時業務走的路徑是經過DBN03站點和SLA-TT2-CORE2站點的路徑,客戶手動將業務通過網管倒換到走另外一個方向路徑后,業務恢復。
組網環境
問題原因分析
我們首先來看一下DBN03到SLA-TT2-CORE2站點在光纜發生中斷后,該MSP環是怎么倒換的。通過在網管上查詢歷史告警我們發現該MSP環在DBN03到SLA-TT2-CORE2站點在光纜發生中斷之前就存在倒換事件,我們發現DBN04站點和SLA03站點在(時間)因為(事件)發生了倒換,但是在該跨段恢復正常后,這兩個站點的倒換并沒用恢復,也就是該環一直處于倒換狀態,由于兩個站點同時處于倒換狀態,經過該跨段的業務倒換到保護通道,所以業務不受影響。在DBN03到SLA-TT2-CORE2站點在光纜發生中斷后,DBN03站點和SLA-TT2-CORE2站點發生倒換,我們看在DBN03到SLA-TT2-CORE2站點在光纜發生中斷后,DBN03站點和SLA-TT2-CORE2站點發生倒換A站點業務是怎么走的:

解決方案
我們假設A站點的業務在到達DBN03站點10號槽位OL64光板使用的是第一個AUG的第一個TU12時隙,因為此時DBN03站點發生倒換,根據復用段倒換原理,我們知道這時候A點的業務返回來走7號槽位的OL64光板的第三十三個AUG的第一個TU12時隙,然后業務在DBNO1-CORE2站點進行穿通,穿通后到達DBN04站點,因為此時DBN04站點也發生倒換,根據復用段倒換原理,我們知道業務會返回到7號槽位OL64光板的第一個AUG的第一個TU12時隙。因為業務都是雙向的,同理我們知道A站點這時候收的業務也是原來發往DBN04站點7號槽位OL64光板的第一個AUG的第一個TU12時隙的業務,我們發現DBN03站點10號槽位OL64光板使用的第一個AUG的第一個TU12時隙的業務和DBN04站點7號槽位OL64光板的第一個AUG的第一個TU12時隙的業務原來是兩條不同的業務,現在發生了錯誤連接到一起。通過以上分析我們發現,A站點在DBN03到SLA-TT2-CORE2站點在光纜發生中斷,DBN03站點和SLA-TT2-CORE2站點發生倒換后,錯誤接收了原來發到DBN04站點7號槽位OL64光板的第一個AUG的第一個TU12時隙的業務,所以這時候該站點不會有任何告警上報,該站點的業務不會倒換到從另外一個方向收業務,所以該站點的業務會中斷。
注意事項
通過上面的分析,我們總結發現此次故障是因為MSP環在DBN03到SLA-TT2-CORE2站點在光纜發生中斷之前DBN04站點和SLA03站點就存在倒換事件,在DBN03到SLA-TT2-CORE2站點在光纜發生中斷后,這兩個站點也發生倒換,導致A、B、C站點部分配置了PP保護的經過該跨段的業務在DBN03到SLA-TT2-CORE2站點在光纜發生中斷后也發生倒換后,業務產生了錯連,所以這些業務雖然還配置了PP保護,但是收不到觸發業務倒換的任何告警,所以業務也不會倒換到從另外一個方向收業務,而是最終通過人為在網管上將業務倒換到從另外一個方向收業務,業務才恢復正常。